Scheda Tecnica

Cossato

Teatro Comunale

Indirizzo: Piazza del Mercato, 52 – 13836 – Cossato (BI) - Tel: 015-9899
Gestione
: IL CONTATO DEL CANAVESE - via dei Patrioti 13, Ivrea (TO) – 10015 - Tel/fax: 0125-641161
E-mail: organizzazione@ilcontato.it - Sito web: www.ilcontato.it

Posti a sedere

Platea: 360
Palchi: /
Galleria: 138
Loggione: /
Totale posti: 498

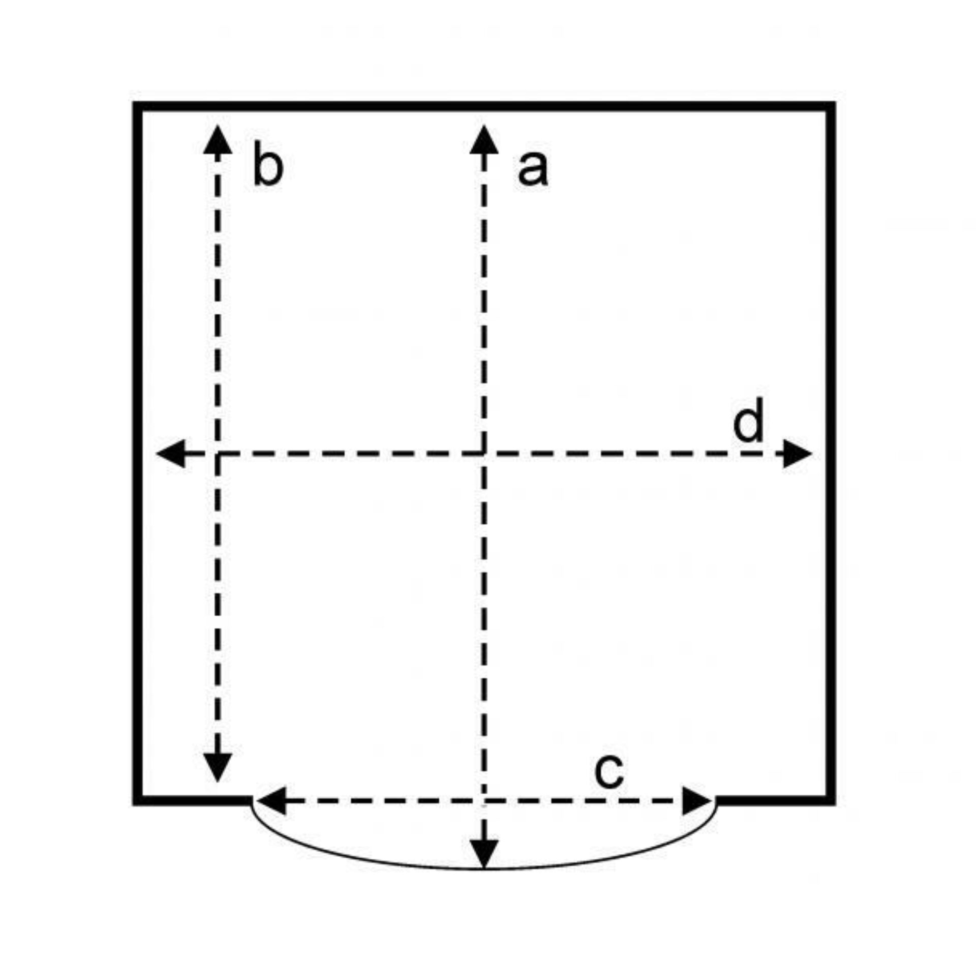
Palcoscenico

Profondità (a): 10 m
Profondità (b): 8,50 m
Larghezza (c): 8,50 m
Larghezza (d): 13 m
Altezza (e): 6 m
Altezza (f): 10 m
Altezza (g): 12 m
Declivio: 4 %
Pavimentazione: legno
Sipario: elettrico
Altezza da platea (h) : 1,50 m
Distanza prima fila platea (i) : 1,60

Parte scenotecnica

Esiste graticcio: SI
Americane: 4
N. quinte: 8

Carico elettrico

N. kw: 35

Camerini

N. Camerini: 8

Indirizzo Teatro

Teatro Comunale di Cossato
Piazza Tempia 54
13836 Cossato (BI)

Scarica il pieghevole con il programma della stagione

Cossato 70x100 lancio 2025 26 Download PDF

Resta in contatto

Vuoi ricevere tutte le ultime novità sulle programmazioni? Scegli come preferisci essere contattato.

Scopri di più