Teatro sociale biella

Scheda Tecnica Teatro Odeon

TEC1

SCHEDA TECNICA

Teatro: ODEON DI BIELLA

Indirizzo: Via Torino, 69 – 13900 – Biella (BI)

Tel: 015-8493521

Gestione: CHAT Sas di Lino Quaglia & Co.

Riferimenti e Contatti: IL CONTATO DEL CANAVESE

Indirizzo: P.za Ferruccio Nazionale, 12 – 10015 – Ivrea (TO)

Tel/fax: 0125-641161

E-mail: organizzazione@ilcontato.it

Sito web: www.ilcontato.it

Posti a sedere

Platea: 778

Palchi: /

Galleria: 371

Loggione: /

Totale posti: 1149

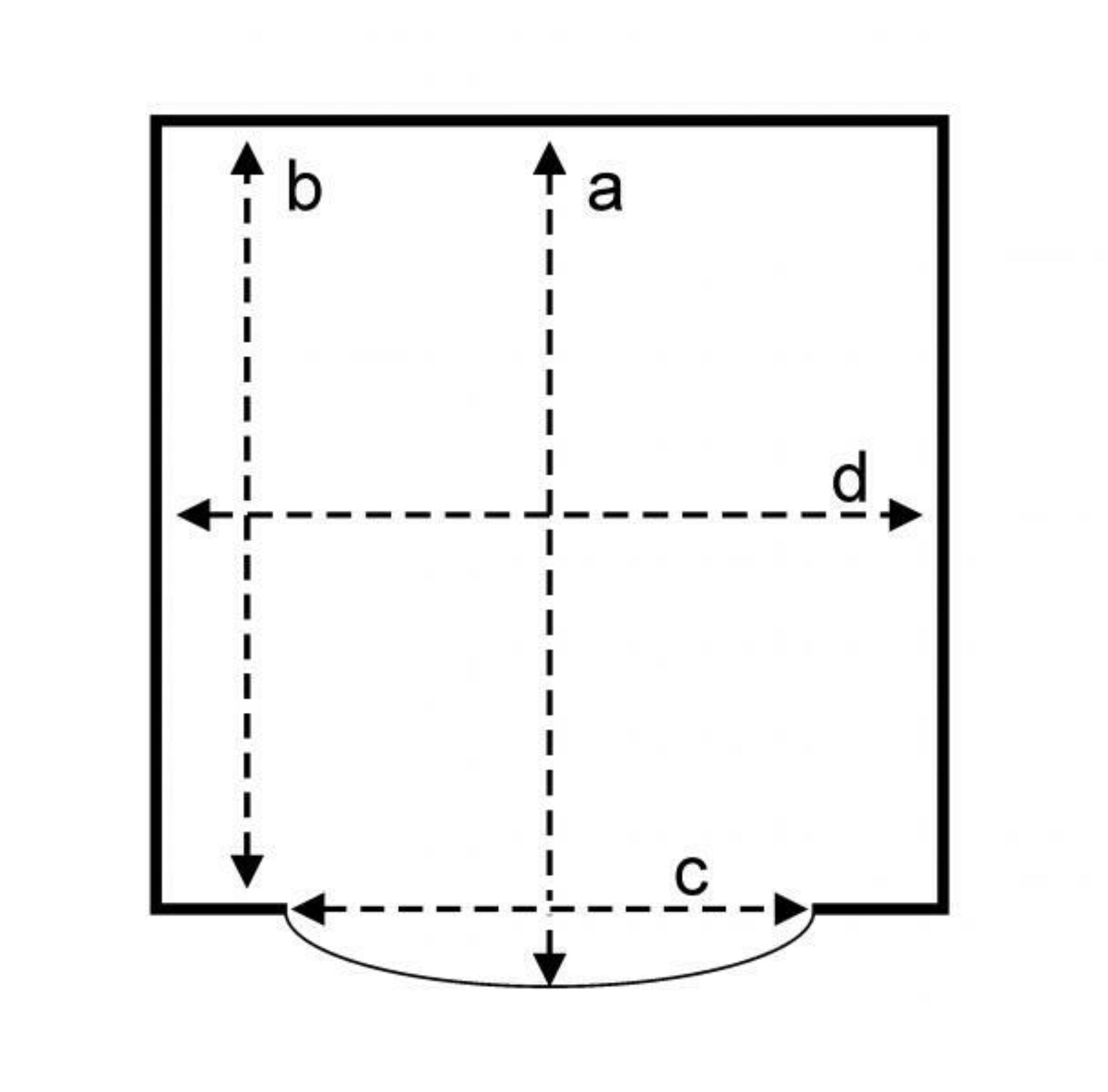
Palcoscenico,

Profondità (a): 8,00 m

Profondità (b): 6,80 m

Profondità da fondale a prima americana fuori sipario 7 m

Larghezza (c): 10,00 m

Larghezza (d): 16,00 m

Altezza (e): 7 m

Altezza (f): 16 m

Declivio: 1 %

Pavimentazione: legno

Sipario:

Altezza da platea (h) : 1,10 m

Distanza prima fila platea (i) : 1,50 m


TEC2

Parte scenotecnica

Esiste graticcio: SI

Larghezza graticcio 14m

Profondità utile 6,5 m (da fondale)

Americane:

2 con paranchi

1 su verricello fuori sipario

N. quinte: 6

n. cieli 2

Distanze Utili

Da regia a sipario 25 m

Da galleria a sipario 20 m

Carico elettrico

Disponibili totali 30kw di contatore, per lo spettacolo sono circa 20kw utilizzabili su n. 2 prese 63A (SL+SR).

Camerini

N. Camerini: 10

Scarico

Dimensioni porte scarico: 1,80 m x 2,20 m

Altezza dalla strada: / scarico piano strada

Indirizzo Teatro

Teatro Odeon
Via Torino 69
13900 Biella (BI)

Scarica il pieghevole con il programma della stagione

Biella 70x100 Download PDF

Resta in contatto

Vuoi ricevere tutte le ultime novità sulle programmazioni? Scegli come preferisci essere contattato.

Scopri di più